Apple получила патент на технологию отслеживания взгляда

Автор
Apple получила патент на технологию отслеживания взгляда

Бюро патентов и торговых марок США выдало Apple патент на технологию отслеживания взгляда для iPhone и Mac.

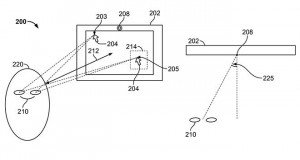
В соответствии с опубликованным документом, инженеры компании разработали систему слежения за зрачком глаза при работе с электронными устройствами. Данные о положении глаз позволяют корректировать ошибки в формируемом на дисплее изображении в соответствии с поступающей от датчиков информации.

В описании патента под названием "Systems and methods for counteracting a perceptual fading of a movable indicator" говорится, что данные о слежении за глазами "могут быть использованы для определения оси взгляда и манипуляции целевыми объемами графического интерфейса". Такая довольно сложная формулировка в действительности означает, что приложения на экране будут реагировать в зависимости от того, куда смотрит пользователь. К примеру, если человек переместил взгляд на одно из окон браузера, устройство поймет это и сфокусируется именно на этой вкладке.

Apple получила патент на технологию отслеживания взгляда для iPhone

В патенте также описаны способы устранения так называемого эффекта Трокслера, характерного для подобных интерфейсов. Речь идет о физиологическом феномене в области визуального восприятия, когда человеческий глаз перестает воспринимать визуальный раздражитель, занимающий строгое постоянное положение по отношению к сетчатке глаза. Так, когда пользователь фокусирует взгляд на определенной точке, например на курсоре мыши, то при перемещении вместе со взглядом он может исчезнуть.

Специалисты Apple описывают несколько методов решения проблемы, предлагая набор аппаратных и программных технологий для противодействия эффекту Трокслера. В одном случае предлагается использовать дополнительный датчик, который следит за взглядом и улучшает восприятие объектов на экране. Другой метод предусматривает применение инфракрасных датчиков для обнаружения момента, когда пользователь моргает и за этот короткий промежуток времени система перемещает объекты.

Технология отслеживания взгляда Apple потенциально может найти применение во многих мобильных устройствах, в том числе в iPhone и iPad, компьютерах Mac и телеприставке Apple TV следующего поколения.