Airbus получила патент на гиперзвуковой самолет

Автор
Airbus получила патент на гиперзвуковой самолет

Гиперзвуковое пассажирское судно способно летать со скоростью, в 4,5 раза превышающей скорость звука.

Американское Бюро патентов и товарных знаков одобрило заявку Airbus на патент нового гиперзвукового пассажирского судна. Инженеры компании отмечают, что небывалая скорость самолета позволит долететь из Лондона в Нью-Йорк всего за час. До этого абсолютным рекордом на данном маршруте было 3,5 часа (такой планки удалось добиться ныне списанному Mach 2 Concorde), пишет naked-science.ru, ссылаясь на Business Insider.

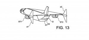
Обеспечивать такую скорость новому Airbus призваны двигатели трех различных видов. Они должны работать последовательно: на определенной скорости будет задействован нужный двигатель. Более того, двигатели, из соображений аэродинамики, будут выдвигаться из корпуса во время работы, а затем задвигаться обратно.

Airbus получила патент на гиперзвуковой самолет

Эксперты Airbus говорят, что новый гиперзвуковой самолет не будет создавать "звуковых ударов" и "шумового загрязнения" при преодолении звукового барьера, чем в свое время не мог похвастаться Concorde. Другой примечательной особенностью судна является то, что оно будет подниматься в воздух вертикально, совсем как космический шаттл.

Airbus получила патент на гиперзвуковой самолет

По замыслу инженеров, гиперзвуковой Airbus может быть использован не только в гражданской, но и в военной авиации. Его, к примеру, можно задействовать для почти мгновенной переброски малочисленных боевых подразделений и проведения разведки.

Пока нет никаких гарантий, что данный патент когда-нибудь воплотят в жизнь, однако технологии, входящие в патент или разработанные на его основе, смогут найти применение в других, менее экстремальных моделях самолетов компании Airbus.