В Apple придумали, как сделать iPhone сверхтонким

Автор
В Apple придумали, как сделать iPhone сверхтонким

В Сети опубликованы подробности очередного патента калифорнийского гиганта, в котором описан способ сокращения габаритов iPhone.

С момента презентации новых iPhone прошлом чуть больше месяца. О планах Apple на следующее поколение смартфонов можно судить по патентным заявкам, которые компании регистрирует в патентном ведомстве США.

В Сети опубликованы подробности очередного патента калифорнийского гиганта, в котором описан способ сокращения габаритов iPhone за счет уменьшения разъемов, которые используются для соединения плат смартфона. Технология подразумевает даже полный отказ от этого конструктивного элемента.

Согласно опубликованному документу, уменьшение разъемов позволит сделать iPhone и iPad сверхтонким, поскольку разъемы занимают много места на печатных платах и порой требуют, чтобы вокруг них не были расположены другие компоненты.

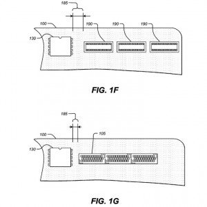
Как видно на иллюстрациях, новые разъемы могут располагаться вплотную друг к другу. Коннекторы состоят из проводящих линий и изолирующей оболочки, обеспечивающей целостность разъема. На приведенном в патенте изображении для сравнения показаны используемые сейчас разъемы (верхний ряд) и разъемы, предложенные Apple.

При соединении двух плат компоненты могут располагаться непосредственно рядом с разъемами. Разъемы смогут припаиваться к одной плате, создавая разъемное соединение, или к двум платам, создавая неразъемное соединение.

Источники пока не располагают информацией о том, когда Apple планирует реализовать технологию на практике. Как известно, компания из Купертино нередко стремится запатентовать то или иное изобретение, однако между выдачей патентного удостоверения и воплощением идеи в жизнь может пройти не один год.