Компания Airbus запатентовал самолет со съемной пассажирской каютой
- Автор
- Дата публикации
- Автор
Компания Airbus запатентовала пассажирский самолет, который будет разделяться на две части.
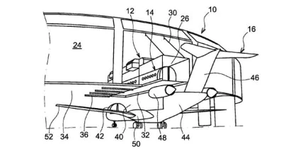
Соответствующую заявку в Ведомство по патентам и товарным знакам США Airbus подал еще в 2013-м, ее одобрили в конце осени того же года. Сейчас стали известны детали концепта. Перед нами настоящая инфраструктурная революция, в рамках которой пассажирские самолеты будут состоять из двух частей. С первой все более или менее понятно: сюда войдут кабина, крылья, двигатели и хвостовая часть. А вот вторая будет представлять собой съемный модуль, где находятся пассажиры и грузы. Сам модуль является элементом верхней части фюзеляжа: устанавливать его на самолет будет специальный кран.
На земле такая капсула будет частью терминала: пассажиры и грузы находятся там еще до прибытия самолета. Установленный на авиалайнер модуль снимут, а на его место поместят новую капсулу. По мнению аналитиков, эта система, несмотря на всю свою сложность, ускорит посадку/высадку пассажиров и погрузку/разгрузку багажа. Самолет при этом будет проводить на земле меньше времени.
Саму капсулу хотят сделать герметичной, на ее верхней части будет установлено специальное оборудование для крана. Изменится и сам аэропорт. По мнению инженеров Airbus, он будет круглым. Краны будут двигаться по кольцу, снимая одни модули и ставя на их место другие. Отметим, что описанная система не соответствует современным жестким требованиям безопасности. Поэтому ее введению будет предшествовать долгий период внесения законодательных поправок. В целом, увидеть нечто подобное мы сможем не раньше чем через десять-пятнадцать лет.
Строго говоря, подобной революции может и вовсе не произойти. Корпорации очень часто патентуют изобретения без каких-либо видов на их реализацию. Так они предостерегаются от разработок своих конкурентов. В случае с европейским Airbus его главным конкурентом является заокеанский Boeing.
Ранее, напомним, Airbus получил патент на гиперзвуковой пассажирский самолет, скорость которого будет превышать скорость звука в 4,5 раза. Долететь из Нью-Йорка в Лондон на такой машине можно будет примерно за час. На самолете хотят установить три разных вида двигателей, причем некоторые из них будут по мере необходимости выдвигаться или задвигаться в фюзеляж. Но и это еще не все: инженеры Airbus говорят, что самолет будет взлетать как шаттл – вертикально.
А в 2014 году Airbus запатентовал не менее удивительный пассажирский самолет с круглым салоном. Создатели полагают, что такой "пончикообразный" летательный аппарат будет экономичней своих собратьев.