Apple решит проблему с доступом к компьютерным разъемам

Автор
Apple решит проблему с доступом к компьютерным разъемам

Автоматизированная система будет самостоятельно определять нужный разъем и положение штекера и аккуратно направлять пользователя.

Каждый из нас хоть раз в жизни сталкивался с неудобством при подключении периферии к системному блоку. Физические усилия для доступа к труднодоступным портам и зачастую неуспешные попытки вставить коннектор в порт правильной стороной вызывают только негативные эмоции. Запатентованная специалистами Apple технология призвана избавить пользователей от этой проблемы.

Ведомство по патентам и товарным знакам США опубликовало новую заявку Apple на электронные устройства с системой помощи при подключении коннекторов. Автоматизированная система будет самостоятельно определять нужный разъем и положение штекера и аккуратно направлять пользователя.

В течение многих лет производители настольных компьютеров скрывали неприглядные разъемы USB, FireWire, аудио, видео и другие порты на тыльной стороне корпуса ПК. Из-за такого расположения подключение периферии к ПК как правило вызывает большие сложности.

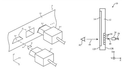
Метод Apple предполагает определение расположения компьютерных разъемов и ориентации подключаемого коннектора при помощи камер или датчиков. Так, массив электродов способен определить приближение штекера к разъему, а программное обеспечение камеры - узнать его положение в пространстве.

Изобретение Apple подразумевает трехосевое позиционирование отслеживаемых штекеров и их визуальное отображение в реальном времени. Система может обладать датчиками, определяющими размеры портов, уровень освещения, расстояние до объектов и так далее. Приближение штекера распознается с помощью 3D-камеры.

Вторая фаза процесса состоит в корректировке подключаемого коннектора, она заключается в передаче пользователю визуальных или звуковых подсказок. Некоторые варианты реализации предусматривают голосовые указания с помощью фраз вроде "переместите коннектор левее" или "переместите коннектор правее", а также тональных сигналов. Подсказки могут выводиться на экране компьютера в текстовом или графическом виде.

Один из возможных сценариев подключения штекера описывает использование прикрытых микроперфорацией светодиодных индикаторов, установленных в корпусе компьютера. Такие светодиоды могут быть запрограммированы на отображение стрелок, значка "порт занят" и иных уведомлений. Система может найти применение в iMac путем установки светодиодов на нижней части лицевой стороны моноблока.

Впрочем, на данный момент нет никаких доказательств, что Apple планирует использовать эту технологию. С большей вероятностью она может быть внедрена в Mac Pro или в 27-дюймовые iMac.

Первая заявка на описанную технологию была подана Apple в июле 2014 года, а ее изобретателями значатся Кристиан Лигтенберг и Дэвид Конрой.