Apple запатентовала гибкий iPhone

Автор
Apple запатентовала гибкий iPhone

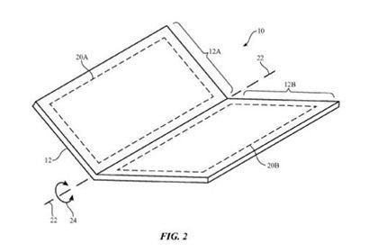
Компания Apple получила подтверждение о регистрации технологии складного экрана для смартфона. На патент обратил внимание портал BGR.

Основу устройства будут составлять проводящие углеродные нанотрубки, которые способны формировать путь для прохождения сигналов. Они гибкие и устойчивые к повреждениям, а также могут быть включены в конструкцию кабелей, дисплея, датчика прикосновений, камеры и других важных элементов смартфона. Для реализации этой идеи аппарат нужно будет оснастить двумя панелями, одна из которых станет полноценным дисплеем.

Отмечается, что у компании был патент на сгибающийся экран еще в 2013 году, но в августе 2014 была подана заявку на новое изобретение. В патенте более подробно описана технология и способ работы смартфона, который можно сгибать.

Кроме Apple над складывающимся смартфоном работает компания Samsung. Ожидается, что корейский гигант представит сразу два гнущихся смартфона в феврале 2017 года на выставке MWC 2017 в Барселоне.