Apple запатентовала складной iPhone

Автор
Apple запатентовала складной iPhone

Технология может быть использована компанией при изготовлении смартфонов нового поколения.

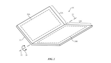
Компания Apple получила подтверждение регистрации патента, который описывает технологию производства складных экранов, сообщает BGR. Патент описывает материалы, которые будут использоваться при производстве складных экранов. Основу устройства будут составлять углеродные нанотрубки, способные формировать пути для прохождения сигналов.

Они гибкие и устойчивые к повреждениям, а также могут быть включены в конструкцию кабелей, дисплея, датчика прикосновений, камеры и других важных элементов смартфона. Для реализации этой идеи аппарат нужно будет оснастить двумя панелями, одна из которых станет полноценным дисплеем.

Издание подчеркивает, что подобные патенты были у компании и в 2013, и в 2014 году. Но упорство, с которым Apple разрабатывает складные экраны, может свидетельствовать о том, что компания планирует внедрить эту технологию в iPhone.

Apple представила iPhone 7 на презентации 7 сентября. Новый смартфон оборудован измененной кнопкой "домой", которая теперь стала чувствительной к давлению. Кроме того, iPhone 7 является водо- и пыленепроницаемым.

В новом смартфоне Apple отсутствует разъем для наушников. По сведениям издания Business Insider, новая модель будет называться iPhone 8, а не iPhone 7s, чего можно было бы ожидать, следуя сложившимся традициям нейминга смартфонов компании.