Apple может сделать Apple Watch 3 заметно тоньше

Автор
Apple может сделать Apple Watch 3 заметно тоньше

Это возможно, если переместить привод Taptic Engine в ремешок часов.

Хотя с момента анонса Apple Watch Series 2 прошло несколько месяцев, многие уже говорят о следующей версии "яблочного" аксессуара. Ожидается, что Apple Watch Series 3 оснастят большим количеством сенсоров для отслеживания не только физической активности пользователя, но и состояния его здоровья, вроде определения уровня сахара в крови. Теперь появилась информация, что в новых часах Apple может использовать технологию, благодаря которой устройство станет значительно тоньше.

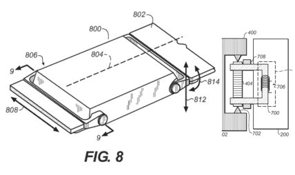
Речь идет о новой патентной заявке Apple под названием "Механизм крепления ремешка с тактильной обратной связью". Инженеры компании планируют вынести движок, используемый для передачи тактильных сигналов на руку пользователя, непосредственно в браслет хронометра. Главная цель – уменьшить толщину корпуса часов.

Apple Watch оснащены уникальным приводом тактильного воздействия, который производит мягкое воздействие на запястье при поступлении уведомлений. Механизм линейного перемещения получил название Taptic Engine. В новой модели движок будет располагаться в ремешке смарт-часов, получая управляющие сигналы через разъем в корпусе устройства.

Apple Watch и Apple Watch Series 2 при толщине 10,5 мм сравнимы по этому показателю с большинством "умных" часов на рынке, но компания Apple славится своим желанием постоянно делать свои устройства всё тоньше и тоньше.

Стоит отметить, что в начале этого года ходили слухи, что Apple Watch второго поколения будут на 20-40% тоньше оригинальной модели. В действительности Apple Watch Series 2 по дизайну практически не отключаются от часов первого поколения.