Дроны Amazon начнут спускать груз на парашютах

Автор
Дроны Amazon начнут спускать груз на парашютах

Американская компания Amazon приступила к разработке технологии, которая позволит спускать груз с беспилотников в режиме парашютирования.

Традиционная схема доставки малыми беспилотниками предполагает обязательную посадку дрона, после чего тот оставляет груз и снова взлетает. Такой порядок обладает рядом недостатков: в частности, при посадке мультикоптер может повредить груз и ранить людей и животных. Кроме того, посадка с последующим взлетом требует дополнительных времени и расхода мощности.

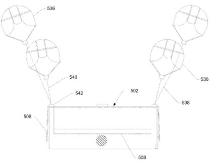
В качестве альтернативы Amazon представила систему, которая предусматривает спуск грузов с амортизацией. Согласно замыслу, груз будет помещаться в специальный контейнер, который может фиксироваться на мультикоптере посредством магнитных креплений. По прибытии на место груз с помощью пружин будет отстреливаться в направлении, обратном движению аппарата.

Затем с учетом траектории спуска, силы и направления ветра мультикоптер будет давать контейнеру команду выпустить баллоны со сжатым воздухом, парашюты или посадочные закрылки. Предполагается, что внедрение технологии увеличит стоимость доставки. Также неизвестно, что будет происходить с контейнерами: не исключено, что компания использует их как одноразовую упаковку.

Amazon эксплуатирует малые беспилотники для доставки небольших грузов с 2016 года. Первая такая доставка была осуществлена 7 декабря, ее продолжительность составила 13 минут: от завершения оформления заказа в интернет-магазине до получения клиентом. В рамках развития услуги ранее компания запатентовала ряд технологий: систему защиты дронов от атаки, дирижабли-склады и другие.