Компания LG разрабатывают новую ручку-смартфон

Автор
Компания LG разрабатывают новую ручку-смартфон

Устройство оснащено сразу двумя дисплеями.

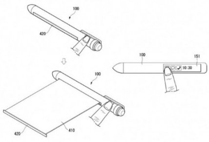
Компания LG получила патентн, который описывает смартфон в виде самой обычной ручки. При этом, устройство оснащено сразу двумя экранами и по функциям не уступает привычным смартфонам. Стоит отметить, что один из экранов – гибкий и он выдвигается из корпуса на нужную длину.

Согласно описанию, смартфон-ручка LG имеет один небольшой дисплей для отображения уведомлений и быстрого доступа к важным опциям, а второй дисплей, выдвигающийся, позволяет переписываться, использовать навигацию, смотреть видео, искать информацию в браузере и так далее.

В устройстве предусмотрены все необходимые датчики: компас, гироскоп, камера и даже сканер отпечатков пальцев для разблокировки. Стоит отметить, что ручка работает и по прямому назначению — все написанное передается в цифровом виде на сопряженное устройство.