3D без очков: Sony запатентовала голографический дисплей

Автор
3D без очков: Sony запатентовала голографический дисплей

Sony работает над голографическим дисплеем для PlayStation, Xbox и консолей Nintendo.

Sony запатентовала собственный голографический дисплей, который будет подстраиваться под пользователя.

Если верить LetsGoDigital, Sony Interactive Entertainment подала заявку на патент голографического экрана в USPTO (Бюро по патентам и товарным знакам США). В документе говорится, что новый голографический дисплей работает автономно и не заставит пользователя надевать 3D очки.

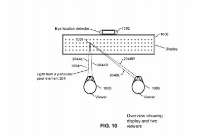
Для создания голографического эффекта, Sony использует излучатель света и микрозеркала, которые могут менять угол для отражения света. Излучаемый свет модулируется таким образом, чтобы создавать эффект 3D для наблюдателя. В патенте говорится, что зеркала будут двигаться по командам микроконтроллера, который работает в паре с технологией отслеживания взгляда.

В устройство также встроены датчики, которые определяют количество зрителей, расстояние пользователя от экрана и уровень яркости освещения.

Датчики будут следить за игроком и подстраивать изображение под его положение. Так что пользователю не придется сидеть смирно и смотреть только прямо. К тому же в патенте говорится, что для каждого зрителя устройство может проецировать разный формат изображения. Например, один пользователь может получать 3D-изображение, а другой 2D.

Элли уже не та: трейлер The Last of Us к старту раздачи в PlayStation Plus

Притом в патенте говорится, что дисплей будет совместим не только с PlayStation, но и консолями Microsoft, Nintendo, а также производителями VR-устройств, телевизоров и прочей электроники.