И никаких складочек: Apple запатентовала уникальный гибкий экран (Фото)

Автор
1480
И никаких складочек: Apple запатентовала уникальный гибкий экран (Фото)

Складки на экране - большая проблема гибких смартфонов.

Из-за того, что экран смартфонов прикрыт не стеклом, а специальной пластиковой пленкой, в разложенном состоянии на ней образуются вмятины и бугорки. Такая проблема уже обнаружена на Samsung Galaxy Fold и Motorola Razr: складки на их дисплеях прощупываются пальцем и заметны при ярком освещении.

Инженеры Apple предлагают решение для этой проблемы. Ведомство по патентам и товарным знакам США 4 февраля опубликовало поданный компанией патент под названием "Электронные устройства с гибкими экранами и шарнирными соединениями". В документе описана концепция, позволяющая складывать гибкий дисплей без образования складок.

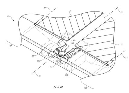
В схеме, предложенной Apple, место сгиба образует петлю, оставляя вокруг шарнира немного свободного пространства и слегка выпирая наружу. При этом основные части и края дисплея плотно прилегают друг к другу. Такой способ складывания позволяет уменьшить механическое напряжение, возникающее в пластиковой пленке.

Иллюстрация из патента

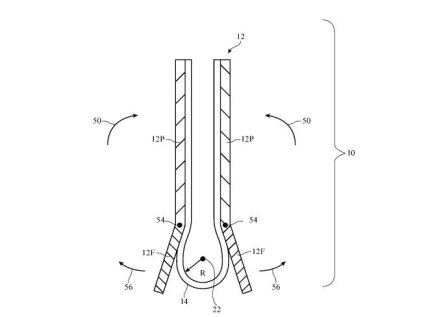
Так выглядит место сгиба смартфона в сложенном состоянии. Вокруг петли сгиба можно увидеть раздвижные створки

Взаимное перемещение плоских частей экрана вокруг места сгиба обеспечивается шарнирным сочленением. Конструкция механизма предполагает, что в разложенном состоянии под линией сгиба будет образовываться пустота: чтобы такого не происходило, к неподвижным частям корпуса прикреплены подвижные створки. Когда телефон раскладывается, эти створки смыкаются, принимая на себя давление и защищая дисплей.

Становится все опасней: Apple закрыла все офисы и магазины в Китае

Это уже далеко не первая разработка Apple в области гибких дисплеев. Первый патент на устройство подобного рода компания подала еще в 2011 году. А в 2018-м Apple запатентовала способ избавления от складок на экранах при помощи специальных канавок на пластиковой пленке.